Revue Technique Automobile Volkswagen Golf 5: Transmetteur d'indicateur de niveau de carburant G : dépose et repose

Revue Technique Automobile Volkswagen Golf 5 / Moteur à injection 4 cylinres (moteurs 1.4 et 1.6 i à injection directe) / Alimentation, accélér, commande / Système d'alimentation en carburant : remise en état (Golf, Golf Plus, Eos) / Transmetteur d'indicateur de niveau de carburant G : dépose et repose

  Nota
Mise en service progressive d'unités de refoulement du carburant avec transmetteurs d'indicateur de niveau de carburant -G- modifiés.
Déposer (ancienne version)
Déposer l'unité de refoulement du carburant → Chapitre.
   
Déverrouiller les fiches des câbles -1- et -2- et les débrancher.
Soulever les languettes de retenue -3- et -4- avec un tournevis et retirer le transmetteur de niveau de carburant par le bas -flèche-.
Reposer (ancienne version)
Mettre en place le transmetteur d'indicateur de niveau de carburant dans les guides de l'unité de refoulement en carburant et l'enfoncer vers le haut jusqu'à ce qu'il s'encliquette.
Brancher les fiches et vérifier qu'elles sont bien encliquetées.
Reposer l'unité de refoulement en carburant → Chapitre.
Déposer (nouvelle version)
Déposer l'unité de refoulement du carburant → Chapitre.
 
Tirer le transmetteur d'indicateur de niveau de carburant -G- légèrement vers le côté et en même temps vers le haut.
 
S'il n'est pas possible de déverrouiller le transmetteur de cette manière, il faut de plus pousser les languettes de retenue -flèches- quelque peu vers le côté.
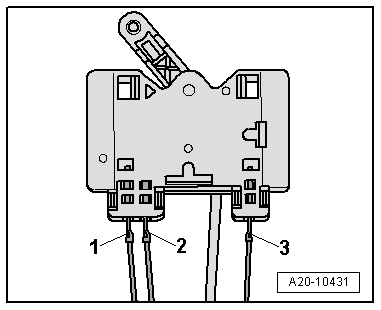
Noter les appariements des couleurs des câbles pour la repose.
 
Déverrouiller les connecteurs électriques -1...3- et les débrancher. Plier ensuite les crochets d'arrêt des fiches vers l'arrière.
Reposer (nouvelle version)
 
Brancher les fiches -1 à 3-. Tenir compte des couleurs.
Contrôler la bonne fixation des fiches en tirant dessus.
Mettre en place le transmetteur d'indicateur de niveau de carburant -G- dans le guide de l'unité de refoulement du carburant et l'enfoncer jusqu'à ce qu'il s'encliquette.
Reposer l'unité de refoulement du carburant → Chapitre.
 
Unité de refoulement du carburant : dépose et repose
  Nota Après avoir déposé l'unité de refoulement du carburant du réservoir à carburant, vérifier grossièrement qu'elle ne soit pas encrassée et ...

Dispositif de coupure du carburant en cas de collision
Fonctionnement Le dispositif de coupure du carburant sert à réduire le risque d'incendie du véhicule après une collision par désactivation ...

D'autres materiaux:

Après élimination des impuretés dans le circuit frigorifique, par ex. en raison de la pénétration d'humidité (le circuit frigorifique était resté longtemps ouvert) ou d'un encrassement
Ne pas remplacer le réservoir collecteur / le réservoir déshydrateur ou le sachet dessicatif / filtre déshydrateur dans les conditions suivantes. À la suite d'un accident sans endommagement du réservoir collecteur / réservoi ...

Primaire pour plastiques
Agent d'accrochage (transparent) Désignation : Agent d'accrochage -ALO 822 000 10- (transparent) Version 06.2011 Description du produit Cet agent d'accrochage transparent est un agent ...

Unité de commande et d'affichage pour climatiseur/Climatronic -E87- avec calculateur de Climatronic -J255- : dépose et repose
  Nota Le calculateur de Climatronic -J255- et l'unité de commande et d'affichage pour climatiseur/Climatronic -E87- constituent un composant indissociable. Dépose -  Déposer l'écran central du ta ...

Categorie