Revue Technique Automobile Volkswagen Golf 5: Connecteurs du système intégré d'autoradio et de navigation " RNS 510 " : vue d'ensemble

Revue Technique Automobile Volkswagen Golf 5 / Communication / Système intégré d'autoradio et de navigation " RNS 510 " / Connecteurs du système intégré d'autoradio et de navigation " RNS 510 " : vue d'ensemble

1 -  Connecteur multibroche 1, 8 raccords
Bornage → Chapitre
2 -  Connecteur multibroche 2, 8 raccords
Bornage → Chapitre
3 -  Connecteur multibroche 3, 12 raccords
Bornage → Chapitre
4 -  Connecteur multibroche 4, 12 raccords
Bornage → Chapitre
5 -  Connecteur multibroche 5, 26 raccords
Bornage → Chapitre
6 -  Connecteurs 6, connecteurs d'antenne
Bornage → Chapitre

Connecteur multibroche 1, 8 raccords, pour sorties de haut-parleurs

1 -  Haut-parleur, positif, arrière droit
2 -  Haut-parleur, positif, avant droit
3 -  Haut-parleur, positif, avant gauche
4 -  Haut-parleur, positif, arrière gauche
5 -  Haut-parleur, négatif, arrière droit
6 -  Haut-parleur, négatif, avant droit
7 -  Haut-parleur, négatif, avant gauche
8 -  Haut-parleur, négatif, arrière gauche
  Nota
En cas d'utilisation d'un amplificateur, les mêmes bornages servent d'entrée ligne pour l'amplificateur. À cet effet, les " étages finaux Power de 26 dB " de l'autoradio sont reprogrammés en usine en " étages finaux sortie ligne de 12 dB ".
 

Connecteur multibroche 2, 8 raccords, pour câbles d'alimentation en tension et bus CAN

9 -  Bus CAN High
10 -  Bus CAN Low
11 -  Afficheur, alimentation en tension, positif, uniquement en option pour le module d'autoradio en version Low
12 -  Alimentation en tension, négatif, borne 31
13 -  Afficheur, HS bus CAN low, uniquement en option pour le module d'autoradio en version Low, pas pour Midline
14 -  Afficheur, HS bus CAN high, uniquement en option pour le module d'autoradio en version Low, pas pour Midline
15 -  Alimentation en tension, positif, borne 30
16 -  Signal de commande du codage antivol, SAFE, positif
 

Connecteur multibroche 3, 12 raccords, pour signaux de téléphone et de microphone

1 -  Entrée microphone, négatif
2 -  Sortie AUX, audio, côté droit
3 -  Sortie AUX, masse de signal commune
4 -  Sortie microphone, négatif
5 -  Signal d'entrée audio téléphone côté gauche, négatif
6 -  Signal d'entrée audio téléphone côté droit, négatif
7 -  Entrée microphone, positif
8 -  Sortie AUX, audio, côté gauche
9 -  Sortie microphone, positif
10 -  Fonction Mute du téléphone (mise de l'autoradio en veille silencieuse)
11 -  Signal d'entrée audio téléphone côté gauche, positif
12 -  Signal d'entrée audio téléphone côté droit, positif
 

Connecteur multibroche 4, à 12 raccords, pour commande du changeur de CD et signaux d'entrée audio CD

1 -  Entrée signaux AUX, côté gauche
2 -  Masse de signal AUX
3 -  Changeur de CD, masse de signal audio
4 -  Changeur de CD, alimentation en tension, positif, borne 30, capacité de charge permanente du contact supérieure à 1 A, capacité de charge de pointe, sur de courts laps de temps, de 5 A
5 -  Libre
6 -  Changeur de CD, DATA OUT (échange de données pour la commande du changeur de CD, du système intégré d'autoradio et de navigation vers le changeur de CD)
7 -  Entrée signaux AUX, côté droit
8 -  Changeur de CD, canal gauche audio, CD/G
9 -  Changeur de CD, canal droit audio, CD/D
10 -  Changeur de CD, câble de commande, positif commuté
11 -  Changeur de CD, DATA IN (échange de données pour la commande du changeur de CD, du changeur de CD vers le système intégré d'autoradio et de navigation)
12 -  Changeur de CD, CLOCK (protocole de vérification du flux de données)
 

Connecteur multibroche 5, audio et vidéo, à 26 raccords

1 -  Réservé pour le protocole Debug RX
2 -  Réservé pour le protocole Debug TX
3 -  Libre
4 -  Entrée de signal vidéo, RGBS, négatif
5 -  Libre
6 -  Prééquipement universel interne pour téléphones portables, Handydetect
7 -  Prééquipement universel interne pour téléphones portables, station d'accueil et évaluation des touches
8 -  Prééquipement universel interne pour téléphones portables, station d'accueil, diagnostic de l'antenne
9 -  Entrée de signal vidéo, RGBS, négatif
10 -  Entrée de signal vidéo BF, côté droit
11 -  Entrée de signal vidéo, masse de blindage
12 -  Entrée de signal vidéo, synchronisation verticale et horizontale
13 -  Entrée de signal vidéo, verte
14 -  Libre
15 -  Libre
16 -  Libre
17 -  Libre
18 -  Libre
19 -  Prééquipement universel interne pour téléphones portables, station d'accueil, négatif
20 -  Prééquipement universel interne pour téléphones portables, borne 30 commutée
21 -  Libre
22 -  Entrée de signal vidéo, BF, négatif
23 -  Entrée de signal vidéo, BF, côté gauche
24 -  Entrée de signal vidéo, RGBS, négatif
25 -  Entrée de signal vidéo, bleu
26 -  Entrée de signal vidéo, rouge
 

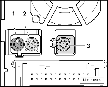
Connecteurs 6, connecteurs d'antenne

1 -  Connecteur d'antenne de réception radio AM et FM2, double Fakra, pas de codage, impédance de 50 ohms, couleur crème
2 -  Connecteur d'antenne de réception radio FM1, double Fakra, codage B, impédance de 50 ohms, couleur crème
3 -  Connecteur d'antenne de navigation, Fakra, codage C, impédance de 50 ohms, couleur bleue
 
Système intégré d'autoradio et de navigation " RNS 510 " dans la Golf berline : vue d'ensemble
1 -  Calculateur de système multimédia -J650- Dans la console centrale Plus d'informations au chapitre Calculateur de système multimédia ...

Antivol électronique
Le système intégré d'autoradio et de navigation " RNS 510 " est doté d'un antivol électronique de confort qui fonctionne en liaison avec le combiné d'instr ...

D'autres materiaux:

Lave-glace avant et arrière
Détacher les deux parties du raccord pour désolidariser le raccord (pas de sûreté). -  Pour fixer le raccord, comprimer les deux parties du raccord jusqu'à ce qu'elles s'encliquettent de manière audible et sensible. ...

Porte-fusée et bras longitudinal : vue d'ensemble du montage (transmission intégrale, berceau en acier et porte-fusée en aluminium)
La -flèche- indique le sens de la marche. 1 -  Palier de fixation 2 -  Cache 3 -  Vis M12 x 1,5 x 80 90 Nm et serrage angulaire de 90 Remp ...

Vue d'ensemble du montage
1 -  Jauge d'huile Le niveau d'huile ne doit pas dépasser le repère maxi. Repères → fig. 2 -  Joint d'étanchéité Remplacer Uniquement lettres-repères moteur BAG, BLP ...

Categorie