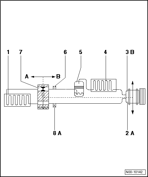
| A- Côté basse pression du circuit frigorifique. |
| B- Côté haute pression du circuit frigorifique. |

| Pièce | État du fluide frigorigène | Pression (bar) | Température (C) |
| -1- Évaporateur, de l'entrée à la sortie | vapeur | env. 1,2 bar → Remarque | env. -7 C → Remarque |
| (env. 1,8 bar) → Remarque | (env. -1 C) → Remarque | ||
| -2- Compresseur de climatiseur, côté A | gaz | env. 1,2 bar → Remarque | env. -1 C |
| (env. 1,8 bar) → Remarque | (env. +1 C) → Remarque | ||
| -3- Compresseur de climatiseur, côté B | gaz | env. 14 bars | env. +65 C |
| -4- Condenseur | gaz, vapeur, liquide | env. 14 bars | en sortie env. + +55 C |
| -5- Réservoir déshydrateur | liquide | env. 14 bars | env. +55 C |
| -6- Valve de remplissage B- côté | liquide | env. 14 bars | env. +55 C |
| -7- Détendeur thermostatique | liquide, détente en vapeur | env. 14 bars | env. + +55 C, réduction à -7 C |
| -8- Valve de remplissage A- côté | gaz | env. 1,2 bar → Remarque | env. -7 C → Remarque |
| (env. 1,8 bar) → Remarque | (env. -1 C) → Remarque |
| 1) | Sur les circuits frigorifique avec compresseur de climatiseur à régulation, la pression est maintenue, malgré les variations de transfert de chaleur et les différents régimes moteur, à env. 2 bars. Cela ne vaut toutefois que dans la plage de puissance du compresseur ; si les limites de puissance du compresseur sont dépassées, la pression augmente → Chapitre. |
| 2) | Sur les circuits de fluide frigorigène avec compresseur de climatiseur à régulation, la température est maintenue, malgré les variations de transfert de chaleur et les différents régimes moteur, dans la plage de régulation du compresseur de climatiseur. Cela ne vaut toutefois que dans la plage de puissance du compresseur ; si les limites de puissance du compresseur sont dépassées, la température augmente. → Chapitre |
| 3) | Valeurs de mesure pour climatiseurs à deux évaporateurs |
Nota
|
Pressions et températures dans le circuit frigorifique
Circuit frigorifique avec étrangleur et réservoir collecteurPorte-fusée et bras longitudinal : vue d'ensemble du montage (transmission
intégrale, berceau en acier et porte-fusée en aluminium)
La -flèche- indique le sens de la
marche.
1 -
Palier de fixation
2 -
Cache
3 -
Vis
M12 x 1,5 x 80
90 Nm et serrage angulaire de 90
Remp ...
Nettoyage et entretien des pièces en matière plastique, placages on bois et
tableau
de bord
Lisez d'abord les informations d'introduction et les consignes de sécurité à
la
et tenez-en compte.
Imbibez d'eau un chiffon propre et non pelucheux,
puis nettoyez les pièces.
Traitez les pièces en matièrr plastique (à l'int&eac ...
Servomoteurs de régulation du climatiseur : remplacement
Outillage spécial, contrôleurs,
appareils de mesure et matériel nécessaires
Système de diagnostic embarqué, de métrologie et
d'information -VAS 5051- ou modèle ultérieur
...