Revue Technique Automobile Volkswagen Golf 5: Alternateur, moteur TDI 1,9 l avec filtre à particules

Revue Technique Automobile Volkswagen Golf 5 / Equipement électrique / Alimentation courant démarreur - GRA / Alternateur / Alternateur, moteur TDI 1,9 l avec filtre à particules

Vue d'ensemble du montage

1 -  Vis six pans à embase
M8 x 45
20 Nm
2 -  Tendeur de courroie multipistes
3 -  Vis six pans à embase
M8 x 90
20 Nm
4 -  Support des organes auxiliaires
Pour alternateur et compresseur de climatiseur
Respecter l'ordre de serrage → Chapitre.
5 -  Vis six pans à embase
Respecter l'ordre de serrage → Chapitre.
M10 x 65
40 Nm
6 -  Vis six pans à embase
Respecter l'ordre de serrage → Chapitre.
M10 x 45
40 Nm
7 -  Vis six pans avec rondelle et pièce filetée
M4 x 20, M4 x 15
2 Nm
8 -  Cache de protection pour alternateur
9 -  Vis à empreinte cruciforme
M4 x 20
2 Nm
10 -  Cache de protection des balais
11 -  Régulateur de tension
Déposer et reposer le régulateur de tension → Chapitre
12 -  Alternateur
Déposer et reposer l'alternateur → Chapitre
Contrôler l'alternateur → Chapitre
Fixation du câble B+ sur l'alternateur → Chapitre
Déposer et reposer la poulie de courroie multipistes sur l'alternateur → Chapitre
13 -  Courroie multipistes
Cheminement de la courroie multipistes → Chapitre
Contrôler la courroie multipistes → Chapitre

 
Sans illustration
Écrou de fixation M8 du câble B+ sur face arrière de l'alternateur - 15 Nm
Écrou de fixation M5 du collier de câble sur face arrière de l'alternateur - 3,2 Nm

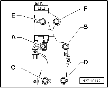
Support d'organes auxiliaires, moteur TDI 1,9 l avec filtre à particules : ordre de serrage

Support d'organes auxiliaires sur bloc-cylindres, véhicules avec climateur : ordre de serrage
Gamme opératoire :
Mettre en place le support d'organes auxiliaires sur le bloc-cylindres.
  Nota
Faire attention au manchon d'ajustage situé entre le support d'organes auxiliaires et le bloc-cylindres.
Mettre en place toutes les vis avant de procéder au serrage aux couples prescrits.
Serrer les vis de fixation du support d'organes auxiliaires dans l'ordre suivant :
A -  Vis six pans à embase, M10 x 65, 40 Nm
B -  Vis six pans à embase, M10 x 45, 40 Nm
C -  Vis six pans à embase, M10 x 45, 40 Nm
D -  Vis six pans à embase, M10 x 45, 40 Nm
E -  Vis six pans à embase, M10 x 65, 40 Nm
F -  Vis six pans à embase, M10 x 65, avec manchon d'ajustage, 40 Nm
 

Alternateur : dépose et repose, moteur TDI 1,9 l avec filtre à particules

Prudence !   Prudence !
Pour déconnecter et reconnecter la batterie, il faut impérativement respecter la procédure décrite dans le Manuel de Réparation → Chapitre.
Dépose :
Outillage spécial, contrôleurs, appareils de mesure et matériel nécessaires
   
Clé dynamométrique -V.A.G 1331-
 
Goupille de blocage -T10060 A-
Déconnecter la batterie → Chapitre.
 
Retirer d'abord le cache du moteur par le haut -flèches A-, puis par l'avant -flèche B-.
  Nota
 
Tous les raccords de flexibles du système d'air de suralimentation sont freinés par des colliers à lame-ressort ou des accouplements enfichables. Pour les accouplements enfichables, il faut impérativement tenir compte des points suivants :
Déverrouiller l'accouplement enfichable en tirant sur l'agrafe de sûreté -flèche-.
Débrancher le flexible/tuyau sans auxiliaires.
 
Débrancher les raccords de flexibles -flèches-.
Retirer le tuyau d'air de suralimentation -1- par le haut.
 
Débrancher le connecteur du câble DF -1- et retirer le cache de protection -2-.
 
Dévisser le câble B+ -flèche- de l'alternateur.
Extraire le filtre à carburant de son support et le mettre de côté. Les flexibles de carburant peuvent rester branchés pendant cette opération.
Prudence !   Prudence !
Avant de procéder à la dépose, repérer la face supérieure et le sens de rotation de la courroie multipistes. Lors de la repose, il faut veiller à ce que le sens de rotation et la position de montage soient corrects. En cas de repose dans le sens inverse de rotation ou dans la position inverse de montage, la courroie sera détruite !
Repérer le sens de rotation de la courroie multipistes.
 
Détendre la courroie multipistes en faisant basculer le tendeur dans le sens de la -flèche- à l'aide d'une clé à fourche de 16.
 
Bloquer le tendeur à l'aide de la goupille de blocage -T10060 A-.
Retirer la courroie multipistes.
 
Dévisser les vis de fixation de l'alternateur -flèches-.
 
Dévisser le support de câble de l'alternateur -flèche-.
Retirer l'alternateur.
Repose :
La repose s'effectue de façon analogue dans l'ordre inverse de la dépose ; il faut alors tenir compte de ce qui suit :
Prudence !   Prudence !
Pour éviter d'endommager le bloc-cylindres et le support d'organes auxiliaires, respecter impérativement l'ordre de serrage du support d'organes auxiliaires → Chapitre.
Lors de la repose de courroies multipistes rodées, respecter le sens de rotation repéré lors de la dépose !
Avant la repose de la courroie multipistes, veiller à ce que tous les organes (alternateur, compresseur de climatiseur) soient serrés au couple correct.
Lors de la mise en place de la courroie multipistes, veiller à son bon positionnement dans les gorges des poulies !
 
Expulser les douilles filetées -A- d'env. 4 mm dans le -sens de la flèche- hors de la carcasse de l'alternateur.
 
Revisser le support de câble -flèche-, en position de 9 heures, au dos de l'alternateur.
  Nota
 
Tous les raccords de flexibles du système d'air de suralimentation sont freinés par des colliers à lame-ressort ou des accouplements enfichables. Pour les accouplements enfichables, il faut impérativement tenir compte des points suivants :
Rebrancher le flexible ou tuyau sans auxiliaires.
Veiller à ce que les ergots de fixation soient bien encliquetés -flèche-.
Serrer les assemblages vissés aux couples indiqués dans la vue d'ensemble du montage → Chapitre.
Prudence !   Prudence !
Tenir compte des indications relatives au vissage sur les bornes de la batterie → Chapitre.
Reconnecter la batterie → Chapitre.
Démarrer le moteur et contrôler la rotation de la courroie.
Couper le moteur.
 

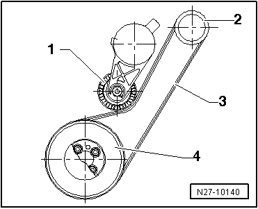
Cheminement de la courroie multipistes, moteur TDI 1,9 l avec filtre à particules

Véhicules sans climatiseur :
1 -  Galet-tendeur
2 -  Poulie de courroie multipistes - alternateur
3 -  Courroie multipistes
4 -  Poulie de courroie multipistes - vilebrequin
 
Véhicules avec climatiseur :
1 -  Galet-tendeur
2 -  Poulie de courroie multipistes - alternateur
3 -  Poulie de courroie multipistes - compresseur de climatiseur
4 -  Courroie multipistes
5 -  Poulie de courroie multipistes - vilebrequin
 
Alternateur, moteur TDI 1,9 l
Vue d'ensemble du montage 1 -  Vis six pans à embase M8 x 45 20 Nm 2 -  Tendeur de courroie multipistes ...

Alternateur, moteur TDI 2,0 l
Vue d'ensemble du montage 1 -  Vis six pans à embase M8 x 45 20 Nm 2 -  Tendeur de courroie multipistes ...

D'autres materiaux:

Utilisation d'un téléphone mobile à bord du véhicule sans raccord à l'antenne extérieure
Tant pendant une communication qu'en mode de veille, les téléphones mobiles émettent et captent des ondes radio. A  l'heure actuelle, les ouvrages spécialisés scientifiques font observer que les ondes radio peuvent avoir une influence néfaste sur ...

Carrossage de l'essieu arrière : réglage
Outillage spécial, contrôleurs, appareils de mesure et matériel nécessaires     Jeu pour amortisseurs -T10001-   Douille de 18 -T10179 ...

Servofrein : dépose et repose
  Nota En cas de réclamations concernant le servofrein, contrôler d'abord le système de dépression du servofrein. → Chapitre Outillage spécial, contrôleurs, appareils de mesure et auxiliaires nécessaires ...

Categorie